各大网站统计被攻陷

2020-12-11 chdyou 鼓捣鼓捣 0 1448

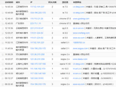
最开始是百度统计吧,突然多了很多莫名其妙的广告来路,什么提升排名、引流获客、卖站采集、流量收购之类和站长相关的内容。本以为是百度不太看重网站统计这块,所以有了漏洞也不管,于是换了51la。刚换完,这些奇怪的来路还真的没有了。没想到好景不长,这几天51la也被攻陷了。想来之前是冤枉百度统计了,原来黑手是一个一个轮着来,不放过任何一个。后小沟这里访问量不多,于是访问明细里满屏的广告内容,很是无奈。还有,内容也更加丰富了,不光关心站长工作,还关心站长生活,比如艾薇免费观看(你懂的)。网上有一些破解的办法,把统计代码加密之类的,但终究是治表,各大统计应该彻底修复吧,毕竟自己的地盘被攻陷、被利用,还是不好看的。

于是感慨现在大家为了营销可真是绞尽脑汁,不放过任何一个地方。前两天听说,有人往别人支付宝账号转1分钱,然后说上一些营销的话,虽然这招会很快被支付宝屏蔽,但是你不得不说人家脑子是挺灵活的,1分钱一个展示,成本是极低的,如果文案做的好,没准那就是高转化率、高回报了。不得不说:高,实在是高。(题图:51la后台截图

网站统计个人站长

发表评论:

◎欢迎您参与讨论。